手机 App 已上线
点我下载

赵薇官宣离婚多年,上个月曾被强制执行…

Sat Dec 28 2024 12:25:54 GMT-0800 (Pacific Standard Time)

cover
赵薇官宣离婚,上个月曾被强制执行…

近几年,赵薇商业版图不断缩水,早年巅峰时期,她入股的公司多达17家。

12月28日下午,@赵薇 发文官宣离婚,她表示已于多年前与黄有龙离婚,婚姻关系在法律上早已解除,并声明:“任何关于他的事件、言论或新闻报道都与我无关。我恳请各方承认这些事实,避免将我卷入虚假的关联或无根据的报道。”

图片

就在上个月,赵薇、西藏龙薇文化传媒有限公司、祥源文旅(600576)曾新增一则被执行人信息,执行标的8488元,执行法院为浙江省杭州市中级人民法院。此外,上述两公司还被强制执行5689元。
图片

今年4月11日,赵薇名下部分所持股权被冻结,冻结股权标的企业为合宝文娱集团有限公司,执行法院为北京市第四中级人民法院,被冻结股权金额为500万元人民币,冻结期限至2027年4月10日。

图片

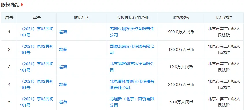
而早在2021年4月,赵薇名下多个所持股权就陆续被冻结。

冻结股权标的企业涉及芜湖东润发投资有限责任公司等,合计金额超过千万元,冻结期限至2024年4月末。

图片

最近几年,赵薇的商业版图不断缩水。早年巅峰时期,赵薇入股的公司多达17家,涉及影视、文娱、投资、科技、房地产等。据天眼查显示,赵薇担任法人的公司中,仅赵赵(上海)影视文化工作室仍处于存续期,另外两家均已注销或吊销。

早在2018年,赵薇还曾接到证监会罚单。当年4月11日,证监会发布了《行政处罚决定书》及《市场禁入决定书》,对万家文化、龙薇传媒责令改正,给予警告,并分别处以60万元罚款;对孔德永、黄有龙、赵薇、赵政给予警告,并分别处以30万元罚款,对黄有龙、赵薇、孔德永分别采取5年证券市场禁入措施。



分享到微信: 分享
【郑重声明】温哥华天空刊载此文不代表同意其说法或描述,仅为提供更多信息,也不构成任何投资或其他建议。 本网站有部分文章是由网友自由上传,对于此类文章本站仅提供交流平台,不为其版权负责; 部分内容经社区和论坛转载,原作者未知,如果您发现本网站上有侵犯您的知识产权的文章,请及时与我们联络,我们会及时删除或更新作者。谢谢!

我要评论: